产品中心
- 电控位移台
- HMRS电控旋转台系列
- HMTS精密电控平移台
- HMGC精密电控倾斜台
- HMVS精密电控升降台
- HMDOM整体多维电控镜架
- HMTMS整体多维电控平移台
- PAM系列压电螺钉致动器
- SMC步进电机控制器
- 电控位移台组合示例
- 手动位移台
- BPRS精密旋转台系列
- BPTS精密平移台系列
- BVTS精密升降台系列
- BTP精密倾斜台系列
- BTG精密角位台系列
- BTMS整体多轴位移台系列
- 手动位移台组合系列
- 光学调整架
- 新品镜架
- 光束转折镜架
- 光学衰减镜架
- 可调/同轴透镜架
- 反射/分光镜架系列
- 五维干涉仪镜架
- 万向镜架
- 可调式底片固定架
- 棱镜台
- 偏光镜架
- 光阑系列
- 狭缝系列
- 观察屏/激光挡板
- 光纤调整架
- 精密光纤调整架
- 光纤调整架配件
- 支杆底座
- 底板系列
- 压板系列
- 磁力底座
- 接杆系列
- 杆架系列
- 支撑棒系列
- 直角固定块系列
- 光学滑轨系列
- 光具座配件
- 光学平台
- 光学平板
- 光学面包板
- 阻尼隔振光学平台
- 气浮隔振光学平台
- 光学罩箱
- 光学平台支架
- 仪器架
- 工作站
- 光学仪器
- 光栅单色仪
- 光源
- 锁相放大器
- 光学元件
- 透镜
- 反射镜
- 棱镜、偏振片
- 波片
- 滤光片
- 光栅、显微物镜
- 激光防护眼镜
- 订制系统
BWDG-Z 系列单色仪通过仪器内单片机控制步进电机,带 动光栅转动,将复合光分解为单色光,通过自动转换 光栅,工作范围可覆盖紫外、可见及红外光谱区域。单色仪可由计算机控制,实现波长扫描显示的自动化,同时 它的控制精度高, 功能强,操作简单, 硬件可靠, 具有很高的性价比。
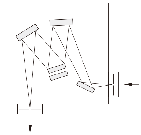
仪器光路原理:
复色光源从入射缝经反射镜照射到球面镜(一)上,此镜将平行光投射到光栅上,经光栅衍射分光,将复色光分 成不同波长的平行光束,以不同的衍射角度投射到球面镜(二)上。球面镜(二)将接受的平行光束聚焦在出缝处, 从而得到 一 系列的按波长排列的光谱。透过出射的光束只是光谱宽度很窄的 一 束单色光,扫描机构运行时,光栅随之转动, 可以得到所选择的单色光。

软件功能介绍 :
本软件是基于 Windows 平台的可执行程序。安装简单,使用方便,仪器采用标准的 USB 接口,方便转换。其 优越的自动校准、 记忆、超硬件保护等功能, 提供接口函数, 便于用户二次开发。
软件特点:
◇ 人性化界面设计, 操作方便
◇ 可直接安装或拷贝到您的电脑, 安装简单
◇ 兼容性好
◇ 软件集成性好, 占用空间少
◇ 功能强大, 有自动校准、记忆、超硬件保护等功能

技术指标:
焦距:150mm
相对孔径:f/4
波长范围:200-1500nm
0.4nm(435.8nm 处 , 缝宽 10µm)
线色散:5.4nm/mm(1200l/mm 光栅 )准确度:0.25nm(1200l/mm 光栅 )
重复性:0.1nm
最小步距:0.01nm
狭缝:宽度 0.1-3mm ,连续可调, 高度 10mm
焦面尺寸:25×10mm ( 或狭缝 )
光栅台:双光栅 ( 用户任选 )
外形尺寸:190×200×160mm
重量:5kg
杂散光:<5×10-4 ( 用 He-Ne 激光器在 632.8nm±8nm 处测定 )






